EEE1394接口又稱火線(Fire Wire)接口,數據傳輸速率高,典型的數據傳輸速率為100MBps,還有200MBps、400MBps等多種更快的傳輸格式,是目前數碼相機所有接口形式中數據傳輸速率最高的。連接靈活并且在計算機運行期間可自由拔插。
IEEE 1394-1995:
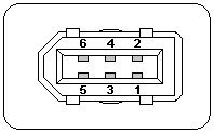
Pin No. Signal Name Signal Inter Connection
Inter Connection with i-Link
1 VP Cable power 1
2 VG Cable ground 2
3 TPB* Strobe on receive, data on transmit (differential pair) 5 1
4 TPB 6 2
5 TPA* Strobe on receive, data on transmit (differential pair) 3 3
6 TPA 4 4
ieee1394接口是什么:IEEE1394接口是一種外部串行總線標準,800Mbps的高速。近年來隨著成本的下降,1394卡正迅速普及。也逐漸出現了其他一些相關設備,如數碼相機,硬盤,網絡攝像機等。1394接口具有把一個輸入信息源傳來的數據向多個輸出機器廣播 的功能,特別適用于家庭視聽AV(AUDIO-VISUAL)的連接。由于該接口具有等時間的傳送功能,確保視聽AV設備重播聲音和圖像數據質量,具有好的重播效果。
i-Link: 4-pin type IEEE 1394-1995
Pin No. Signal Name Signal Inter Connection
Inter Connection with 1394-1995
1 TPB* Strobe on receive, data on transmit (differential pair) 3 5
2 TPB 4 6
3 TPA* Strobe on receive, data on transmit (differential pair) 1 3
4 TPA 2 4
IEEE1394接口總線是一種目前為止最快的高速串行總線,最高的傳輸速度為400Mbps/s。對于各種需要大量帶寬的設備提供了專門的優化,接口可以同時連接63個不同設備,IEEE1394同USB一樣,支持帶電插撥設備。IEEE1394支持即插即用,現在的WIN98 SE、WIN2000、WIN ME、WIN XP都對IEEE1394支持的很好,在這些操作系統中用戶不用再安裝驅動程序,也能使用IEEE1394接口設備


