IEEE1394接口是由APPLE和TI公司開始的高速串行接口標準(ieee1394接口圖片見本頁下方),Apple稱之為FireWire(火線),Sony稱之為i.Link,TexasInstruments稱之為Lynx。盡管各自廠商注冊的商標名稱不同,但實質都是一項技術,那就是IEEE1394。
IEEE-1394技術使用最廣的還是數字成像領域,支持的產品包括數字相機或攝象機等。總體上說,IEEE-1394具有以下特點: 廉價 - 占用空間小 - 速度快 - 開放式標準 - 支持熱插拔 - 可擴展的數據傳輸速率 - 拓撲結構靈活多樣 - 完全數字兼容 - 可建立對等網絡 - 同時支持同步和異步兩種數據傳輸模式。主要用于數碼攝像機等外設和計算機進行大量快速數據交換時使用.
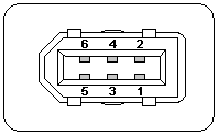
IEEE 1394-1995:
Pin No. Signal Name Signal Inter Connection
Inter Connection with i-Link
1 VP Cable power 1
2 VG Cable ground 2
3 TPB* Strobe on receive, data on transmit (differential pair) 5 1
4 TPB 6 2
5 TPA* Strobe on receive, data on transmit (differential pair) 3 3
6 TPA 4 4
i-Link: 4-pin type IEEE 1394-1995
Pin No. Signal Name Signal Inter Connection
Inter Connection with 1394-1995
1 TPB* Strobe on receive, data on transmit (differential pair) 3 5
2 TPB 4 6
3 TPA* Strobe on receive, data on transmit (differential pair) 1 3
4 TPA 2 4



